全国服务热线:18057788788
新闻资讯
当前位置:首页 > 新闻资讯

一种无折边锥形不锈钢封头的制作方法

作者:  来源:  更新时间:2025-8-29 12:33:20  点击次数:
  本实用新型涉及封头技术领域,具体为一种无折边锥形不锈钢封头

  背景技术:

  无折边锥形不锈钢封头具有非常广泛的应用,发明人经研究发现,传统的无折边锥形不锈钢封头结构比较固定,仅仅为缩锥状的封头结构,缩锥状筒体的结构强度低,一旦在使用中发生形变,很容易导致无法使用,如何发明一种无折边锥形不锈钢封头来解决这些问题,成为了本领域技术人员亟待解决的问题。

  技术实现要素:

  为了弥补以上不足,本实用新型的目的在于提供一种无折边锥形不锈钢封头,旨在改善传统的无折边锥形不锈钢封头缩锥状筒体的结构强度低,一旦在使用中发生形变,很容易导致无法使用的问题。

  本实用新型的技术方案是:一种无折边锥形不锈钢封头,包括不锈钢封头本体,所述不锈钢封头本体的内部设置有中间结构,所述不锈钢封头本体呈缩锥状,所述不锈钢封头本体包括锥形体,所述锥形体的顶端和底部分别开设有第一开口和第二开口,所述中间结构包括支撑管件以及分布在支撑管件和锥形体之间的若干个角板,所述角板和锥形体的接触面为斜面,所述角板在支撑管件和锥形体之间呈环形阵列分布。

  作为本技术方案的进一步优化,所述角板和锥形体之间通过焊接固定,所述角板和支撑管件之间也通过焊接固定,将角板在支撑管件组焊好之后再将中间结构整体装焊。

  作为本技术方案的进一步优化,所述锥形体的第一开口和第二开口处均开设有圆弧倒角,制作工艺简单。

  作为本技术方案的进一步优化,所述支撑管件竖直设置,所述支撑管件两端的端口分别正对第一开口和第二开口设置,支撑管件位于不锈钢封头本体的中部。

  作为本技术方案的进一步优化,所述角板的板厚不小于8mm,所述支撑管件的壁厚也不小于8mm,结构强度高。

  作为本技术方案的进一步优化,所述支撑管件距离第一开口的高度不大于距离第二开口的高度,中间结构的设计不会影响不锈钢封头本体的正常使用。

  与现有技术相比,本实用新型的有益效果是:本实用新型一种无折边锥形不锈钢封头,在现有技术的基础上进行改进,通过在不锈钢封头本体的内部增设中间结构,使得角板的斜面和锥形体内壁紧密贴合,角板对锥形体内壁提供了有效支撑,并且支撑力度均匀,大大提升了锥形体的结构强度,在使用过程中不容易变形,适合推广使用。

  具体实施方式

  下面将结合本实用新型实施例中的附图,对本实用新型实施例中的技术方案进行清楚、完整地描述,显然,所描述的实施例仅仅是本实用新型一部分实施例,而不是全部的实施例。基于本实用新型中的实施例,本领域普通技术人员在没有做出创造性劳动前提下所获得的所有其他实施例,都属于本实用新型保护的范围。

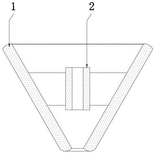
  请参阅图1-4,本实用新型提供一种技术方案:一种无折边锥形不锈钢封头,包括不锈钢封头本体1,所述不锈钢封头本体1的内部设置有中间结构2,所述不锈钢封头本体1呈缩锥状,所述不锈钢封头本体1包括锥形体101,所述锥形体101的顶端和底部分别开设有第一开口102和第二开口103,在现有技术的基础上进行改进,所述中间结构2包括支撑管件201以及分布在支撑管件201和锥形体101之间的若干个角板202,所述角板202和锥形体101的接触面为斜面203,角板202的斜面203和锥形体101内壁紧密贴合,所述角板202在支撑管件201和锥形体101之间呈环形阵列分布,角板202对锥形体101内壁提供了有效支撑,并且支撑力度均匀。

  具体的,所述角板202和锥形体101之间通过焊接固定,所述角板202和支撑管件201之间也通过焊接固定,将角板202在支撑管件201组焊好之后再将中间结构2整体装焊。

  具体的,所述锥形体101的第一开口102和第二开口103处均开设有圆弧倒角,制作工艺简单。

  具体的,所述支撑管件201竖直设置,所述支撑管件201两端的端口分别正对第一开口102和第二开口103设置,支撑管件201位于不锈钢封头本体1的中部。

  具体的,所述角板202的板厚不小于8mm,所述支撑管件201的壁厚也不小于8mm,结构强度高。

  具体的,所述支撑管件201距离第一开口102的高度不大于距离第二开口103的高度,中间结构2的设计不会影响不锈钢封头本体1的正常使用。

  具体的,在现有技术的无折边锥形不锈钢封头基础上进行改进,通过在不锈钢封头本体1的内部增设中间结构2,使得角板202的斜面203和锥形体101内壁紧密贴合,角板202对锥形体101内壁提供了有效支撑,并且支撑力度均匀,大大提升了锥形体101的结构强度,在使用过程中不容易变形,适合推广使用。

  需要说明的是,不锈钢封头本体1具体的使用方法采用本领域现有技术,故不再详细赘述。

  以上显示和描述了本实用新型的基本原理、主要特征及本实用新型的优点。本行业的技术人员应该了解,本实用新型不受上述实施例的限制,上述实施例和说明书中描述的只是说明本实用新型的原理,在不脱离本实用新型精神和范围的前提下,本实用新型还会有各种变化和改进,这些变化和改进都落入要求保护的本实用新型范围内。本实用新型要求保护范围由所附的权利要求书及其等效物界定。

  技术特征:

  1.一种无折边锥形不锈钢封头,包括不锈钢封头本体(1),其特征在于:所述不锈钢封头本体(1)的内部设置有中间结构(2),所述不锈钢封头本体(1)呈缩锥状,所述不锈钢封头本体(1)包括锥形体(101),所述锥形体(101)的顶端和底部分别开设有第一开口(102)和第二开口(103),所述中间结构(2)包括支撑管件(201)以及分布在支撑管件(201)和锥形体(101)之间的若干个角板(202),所述角板(202)和锥形体(101)的接触面为斜面(203),所述角板(202)在支撑管件(201)和锥形体(101)之间呈环形阵列分布。

  2.根据权利要求1所述的一种无折边锥形不锈钢封头,其特征在于:所述角板(202)和锥形体(101)之间通过焊接固定,所述角板(202)和支撑管件(201)之间也通过焊接固定。

  3.根据权利要求1所述的一种无折边锥形不锈钢封头,其特征在于:所述锥形体(101)的第一开口(102)和第二开口(103)处均开设有圆弧倒角。

  4.根据权利要求1所述的一种无折边锥形不锈钢封头,其特征在于:所述支撑管件(201)竖直设置,所述支撑管件(201)两端的端口分别正对第一开口(102)和第二开口(103)设置。

  5.根据权利要求1所述的一种无折边锥形不锈钢封头,其特征在于:所述角板(202)的板厚不小于8mm,所述支撑管件(201)的壁厚也不小于8mm。

  6.根据权利要求1所述的一种无折边锥形不锈钢封头,其特征在于:所述支撑管件(201)距离第一开口(102)的高度不大于距离第二开口(103)的高度。

  技术总结

  本实用新型涉及封头技术领域,具体的说是一种无折边锥形不锈钢封头,包括不锈钢封头本体,所述不锈钢封头本体的内部设置有中间结构,所述不锈钢封头本体呈缩锥状,所述不锈钢封头本体包括锥形体,所述锥形体的顶端和底部分别开设有第一开口和第二开口,所述中间结构包括支撑管件以及分布在支撑管件和锥形体之间的若干个角板,所述角板和锥形体的接触面为斜面,所述角板在支撑管件和锥形体之间呈环形阵列分布。在现有技术的基础上进行改进,通过在不锈钢封头本体的内部增设中间结构,使得角板的斜面和锥形体内壁紧密贴合,角板对锥形体内壁提供了有效支撑,并且支撑力度均匀,大大提升了锥形体的结构强度,在使用过程中不容易变形。
本文链接:http://www.wzfoft.com//content/?1084.html
上一篇:2020年不锈钢封头投资分析
下一篇:2020年不锈钢封头行业现状分析

相关文章

不锈钢封头固溶退磁处理规范和操作方法-2024-09-09
不锈钢封头规格型号尺寸表-2020-06-01
不锈钢封头重量表-2020-05-04
不锈钢封头提高承受压力设计-2019-05-29
冷、热加工大型封头的特点-2026-01-25
不锈钢封头行业市场竞争分析-2026-01-18
不锈钢封头行业市场竞争分析-2026-01-14
不锈钢封头行业前景预测分析-2026-01-04
一种适用于不同尺寸不锈钢封头的切割装置的制作方法-2025-12-25
封头酸洗的操作步骤及标准-2025-12-16
不锈钢封头成型后选用哪些无损检测技术方式?-2025-12-10
封头制造的三大无损检测技术-2025-12-04
不锈钢封头价格为什么相差这么大?-2025-11-27
压力罐不锈钢封头-2025-11-18
不锈钢封头行业前景预测-2025-11-13